Däcksförskruvning Waste ISO 38MM Rostfri
CE standard för däckstömning av grå vatten i rostfritt stål från Osculati
Lägg till en bevakning så meddelar vi dig så snart varan är i lager igen.
Däcksförskruvning Waste ISO 38MM Rostfri
CE standard för däckstömning av grå vatten i rostfritt stål från Osculati
ISO standard för däckstömning av grå vatten i rostfritt stål
Utrustad med särskild öppningssystem så att man slipper användningen av special nycklar. Locket är utformade för att täcka flänsen. Den är tillverkad i enlighet med ISO 8099/1 standarder) och RINA typgodkänd
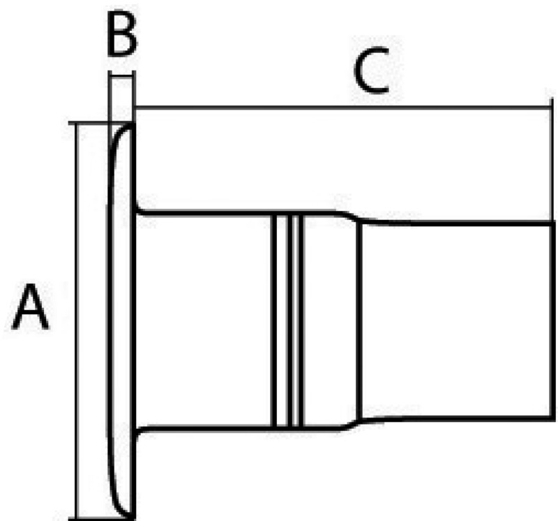
Anslutning: 38mm
A: Ytterdiameter lock (mm): 93,3
B: tjocklek fläns (mm): 11
C: Längd under fläns (mm): 114
ref nummer: 20.866.39
